Golden Marine    |    Soon    |    قريبا   

DF 300 & سنة الإصدار 2010

اضغط على الصور لعرض التفاصيل
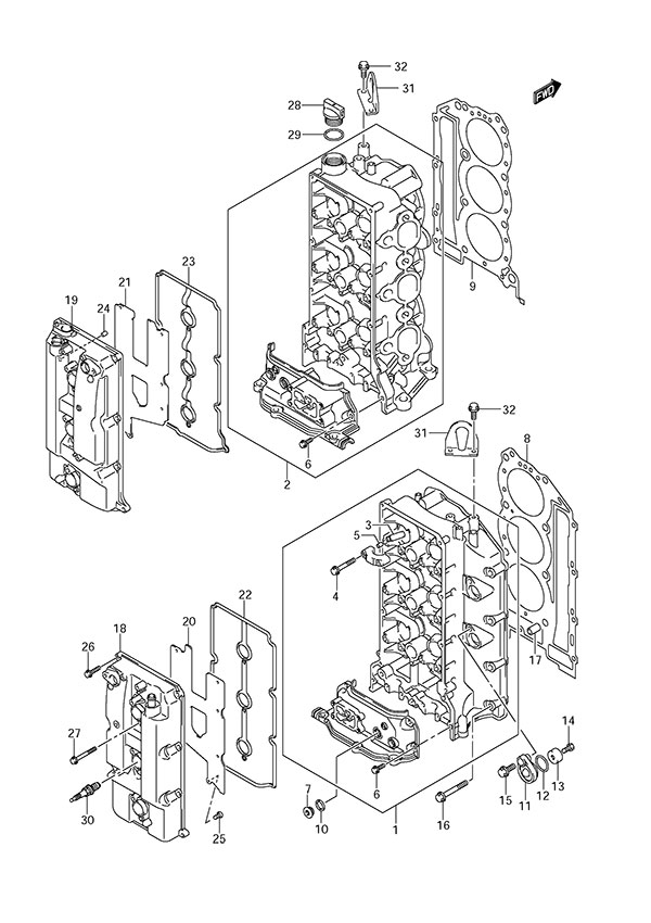
Suzuki DF 300 Cylinder Head

Cylinder Head

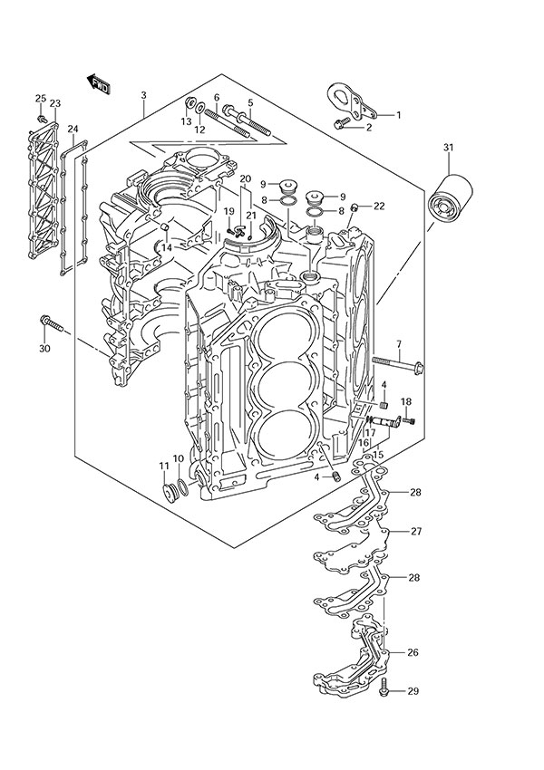
Suzuki DF 300 Cylinder Block

Cylinder Block

Suzuki DF 300 Ring Gear Cover

Ring Gear Cover

Suzuki DF 300 Crankshaft

Crankshaft

Suzuki DF 300 Timing Chain

Timing Chain

Suzuki DF 300 Camshaft

Camshaft

Suzuki DF 300 Intake Manifold

Intake Manifold

Suzuki DF 300 Exhaust Cover

Exhaust Cover

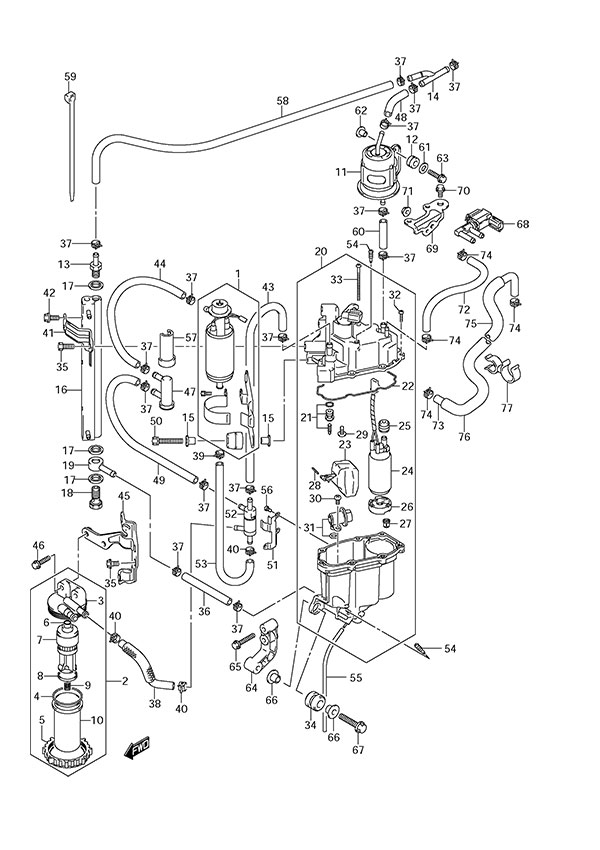
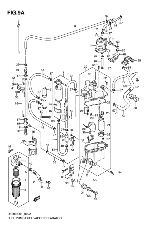
Suzuki DF 300 Fuel Pump/Fuel Vapor Separator (2007 to 2010)

Fuel Pump/Fuel Vapor Separator (2007 to 2010)

Suzuki DF 300 Fuel Pump/Fuel Vapor Separator (S/N 110001 & Newer)

Fuel Pump/Fuel Vapor Separator (S/N 110001 & Newer)

Suzuki DF 300 Fuel Injector

Fuel Injector

Suzuki DF 300 Water Pump

Water Pump

Suzuki DF 300 Thermostat

Thermostat

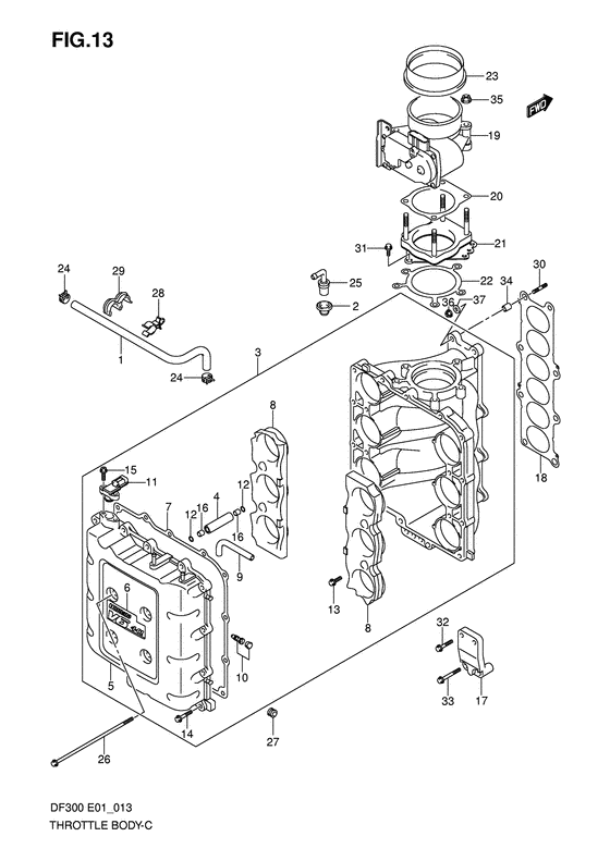
Suzuki DF 300 Throttle Body

Throttle Body

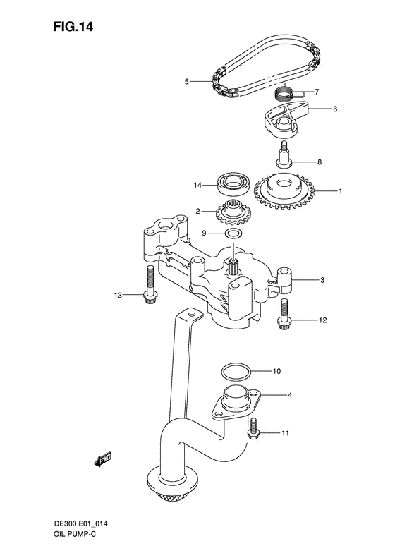
Suzuki DF 300 Oil Pump

Oil Pump

Suzuki DF 300 Oil Pan

Oil Pan

Suzuki DF 300 Clutch Shaft

Clutch Shaft

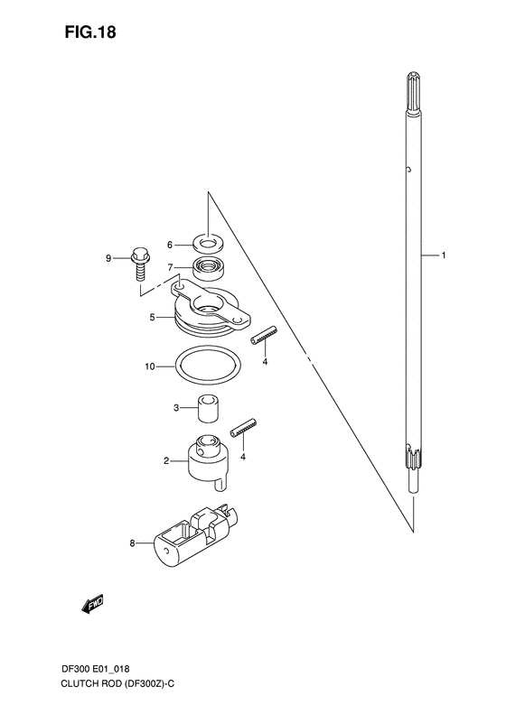
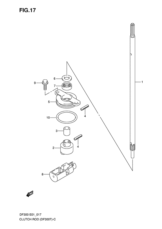
Suzuki DF 300 Clutch Rod

Clutch Rod

Suzuki DF 300 Clutch Rod Counter Rotation

Clutch Rod Counter Rotation

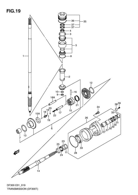
Suzuki DF 300 Transmission

Transmission

Suzuki DF 300 Transmission Counter Rotation

Transmission Counter Rotation

Suzuki DF 300 Starting Motor

Starting Motor

Suzuki DF 300 Magneto

Magneto

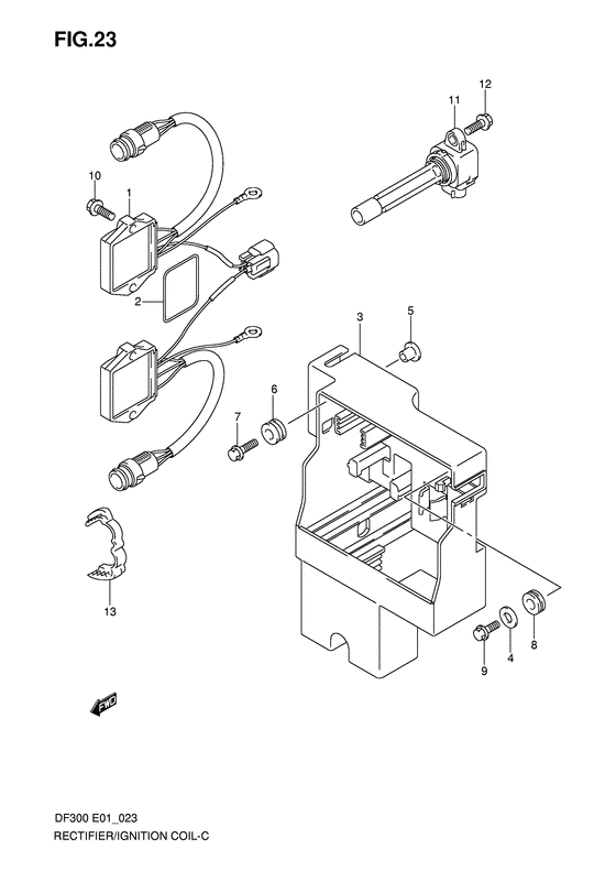
Suzuki DF 300 Rectifier/Ignition Coil

Rectifier/Ignition Coil

Suzuki DF 300 Sensor

Sensor

Suzuki DF 300 Harness

Harness

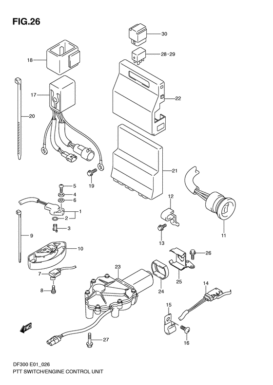
Suzuki DF 300 PTT Switch/Engine Control Unit

PTT Switch/Engine Control Unit

Suzuki DF 300 Clamp Bracket

Clamp Bracket

Suzuki DF 300 Swivel Bracket

Swivel Bracket

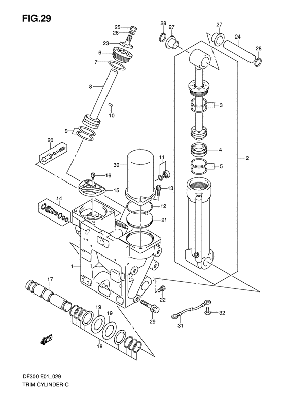
Suzuki DF 300 Trim Cylinder

Trim Cylinder

Suzuki DF 300 PTT Motor

PTT Motor

Suzuki DF 300 Engine Holder

Engine Holder

Suzuki DF 300 Drive Shaft Housing

Drive Shaft Housing

Suzuki DF 300 Gear Case

Gear Case

Suzuki DF 300 Gear Case Counter Rotation

Gear Case Counter Rotation

Suzuki DF 300 Side Cover

Side Cover

Suzuki DF 300 Engine Cover

Engine Cover

Suzuki DF 300 Engine Cover

Engine Cover

Suzuki DF 300 Fuel Hose

Fuel Hose

Suzuki DF 300 Opt: Meter

Opt: Meter

Suzuki DF 300 Opt: Harness

Opt: Harness

Suzuki DF 300 Opt: Switch

Opt: Switch

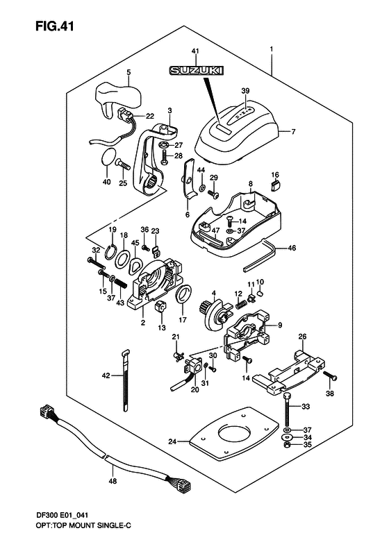
Suzuki DF 300 Opt: Top Mount Single

Opt: Top Mount Single

Suzuki DF 300 Opt: Top Mount Single

Opt: Top Mount Single

Suzuki DF 300 Opt: Top Mount Dual

Opt: Top Mount Dual

Suzuki DF 300 Opt: Top Mount Dual

Opt: Top Mount Dual

Suzuki DF 300 Opt: Flush Mount Remocon

Opt: Flush Mount Remocon

Suzuki DF 300 Opt: Gasket Set

Opt: Gasket Set