Golden Marine    |    Soon    |    قريبا   

DF 90 & سنة الإصدار 2023

اضغط على الصور لعرض التفاصيل
Suzuki DF 90 Cylinder Head

Cylinder Head

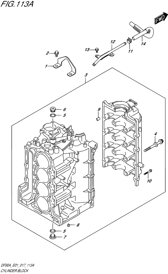
Suzuki DF 90 Cylinder Block

Cylinder Block

Suzuki DF 90 Crankshaft

Crankshaft

Suzuki DF 90 Timing Chain

Timing Chain

Suzuki DF 90 Camshaft

Camshaft

Suzuki DF 90 Intake Manifold

Intake Manifold

Suzuki DF 90 Silencer

Silencer

Suzuki DF 90 Ring Gear Cover

Ring Gear Cover

Suzuki DF 90 Exhaust Cover

Exhaust Cover

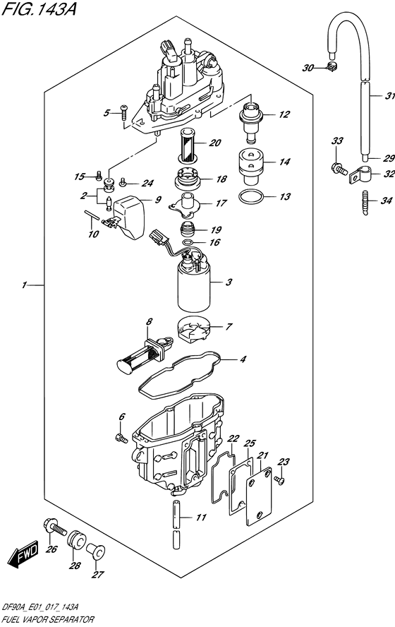
Suzuki DF 90 Fuel Vapor Separator

Fuel Vapor Separator

Suzuki DF 90 Fuel Injector

Fuel Injector

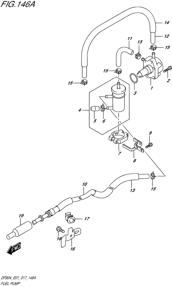
Suzuki DF 90 Fuel Pump

Fuel Pump

Suzuki DF 90 Water Pump

Water Pump

Suzuki DF 90 Thermostat

Thermostat

Suzuki DF 90 Throttle Body

Throttle Body

Suzuki DF 90 Oil Pump

Oil Pump

Suzuki DF 90 Oil Pan

Oil Pan

Suzuki DF 90 Clutch Shaft

Clutch Shaft

Suzuki DF 90 Clutch Rod

Clutch Rod

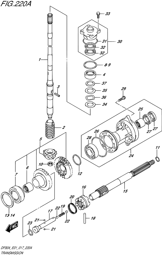
Suzuki DF 90 Transmission

Transmission

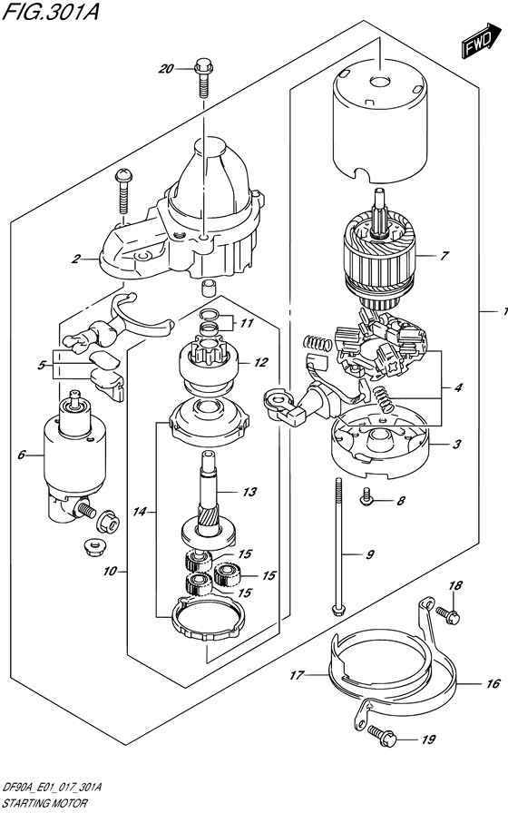
Suzuki DF 90 Starting Motor

Starting Motor

Suzuki DF 90 Magneto

Magneto

Suzuki DF 90 Rectifier/Ignition Coil

Rectifier/Ignition Coil

Suzuki DF 90 Sensor

Sensor

Suzuki DF 90 Harness

Harness

Suzuki DF 90 PTT Switch/Engine Control Unit

PTT Switch/Engine Control Unit

Suzuki DF 90 Clamp Bracket

Clamp Bracket

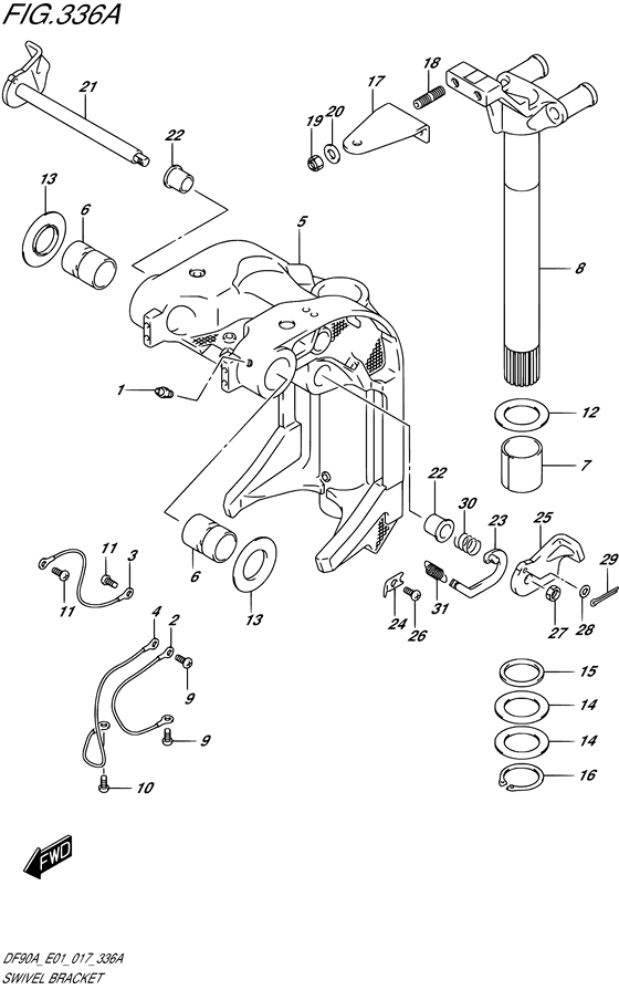
Suzuki DF 90 Swivel Bracket

Swivel Bracket

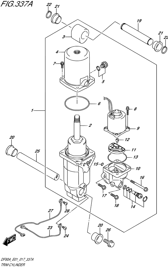
Suzuki DF 90 Trim Cylinder

Trim Cylinder

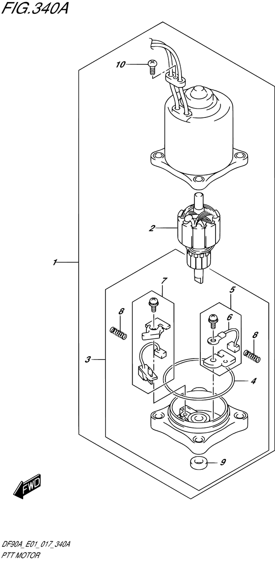
Suzuki DF 90 PTT Motor

PTT Motor

Suzuki DF 90 Engine Holder

Engine Holder

Suzuki DF 90 Drive Shaft Housing

Drive Shaft Housing

Suzuki DF 90 Gear Case

Gear Case

Suzuki DF 90 Side Cover

Side Cover

Suzuki DF 90 Engine Cover

Engine Cover

Suzuki DF 90 Drag Link

Drag Link

Suzuki DF 90 Squeeze Pump

Squeeze Pump

Suzuki DF 90 Opt: Meter

Opt: Meter

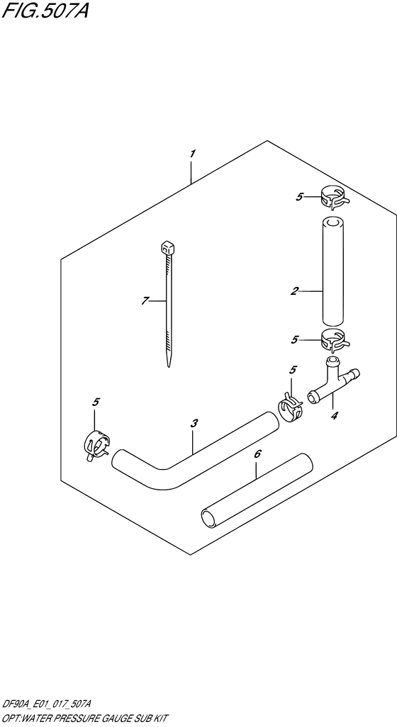
Suzuki DF 90 Opt: Water Pressure Gauge Sub Kit

Opt: Water Pressure Gauge Sub Kit

Suzuki DF 90 Opt: Concealed Remocon (1)

Opt: Concealed Remocon (1)

Suzuki DF 90 Opt: Concealed Remocon (2)

Opt: Concealed Remocon (2)

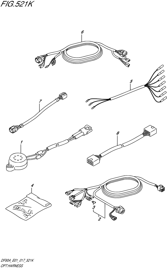
Suzuki DF 90 Opt: Harness

Opt: Harness

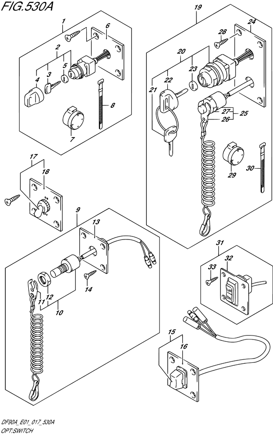
Suzuki DF 90 Opt: Switch

Opt: Switch

Suzuki DF 90 Opt: Top Mount Single (1)

Opt: Top Mount Single (1)

Suzuki DF 90 Opt: Top Mount Single (2)

Opt: Top Mount Single (2)

Suzuki DF 90 Opt: Tiller Handle

Opt: Tiller Handle

Suzuki DF 90 Opt: Gasket Set

Opt: Gasket Set